
빈곤 퇴치와 경제성장에 관해 다양한 견해가 제시되고 있다. 빈곤의 원인으로 지리적 요인을 강조하는 삭스는 가난한 나라의 사람들이 '빈곤의 덫'에서 빠져나오기 위해 외국의 원조에 기초한 초기 지원과 투자가 필요하다고 주장한다. 그가 보기에 대부분의 가난한 나라들은 열대 지역에 위치하고 말라리아가 극심하여 사람들의 건강과 노동성과가 나쁘다. 이들은 소득 수준이 너무 낮아 영양 섭취나 위생, 의료, 교육에 쓸 돈이 부족하고 개량 종자나 비료를 살 수 없어서 소득을 늘릴 수 없다. 이런 상황에서는, 초기 지원과 투자로 가난한 사람들이 빈곤의 덫에서 벗어나도록 해주어야만 생산성 향상이나 저축과 투자의 증대가 가능해져 소득이 늘 수 있다. 그런데 가난한 나라는 초기 지원과 투자를 위한 자금을 조달할 능력이 없기 때문에 외국의 원조가 필요하다는 것이다.
제도의 역할을 강조하는 경제학자들의 견해는 삭스와 다르다. 이스털리는 정부의 지원과 외국의 원조가 성장에 도움이 되지 안는다고 본다. 그는 '빈곤의 덫' 같은 것은 없으며, 빈곤을 해결하기 위해 경제가 성장하려면 자유로운 시장이 잘 작동해야 한다고 본다. 가난한 사람들이 필요를 느끼지 않는 상태에서 교육이나 의료에 정부가 지원한다고 해서 결과가 달라지지 않으며 개인들이 스스로 필요한 것을 선택하도록 해야 한다고 보기 때문이다. 마찬가지 이유로 이스털리는 외국의 원조에 대해서도 회의적인데, 특히 정부가 부패할 경우에 원조는 가난한 사람들의 처지를 개선하지는 못하고 부패를 더욱 악화시키는 결과만 초래한다고 본다. 이에 대해 삭스는 가난한 나라 사람들의 소득을 지원해 빈곤의 덫에서 빠져나오도록 해야 생활 수준이 높아져 시민 사회가 강화되고 법치주의가 확립될 수 있다고 주장한다.
빈곤의 원인이 나쁜 제도라고 생각하는 애쓰모글루도 외국의 원조에 대해 회의적이지만, 자유로운 시장에 맡겨 둔다고 나쁜 제도가 저절로 사라지는 것도 아니라고 본다. 그는 가난한 나라에서 경제성장에 적합한 좋은 경제제도가 채택되지 않는 이유가 정치제도 때문이라고 본다. 어떤 제도든 이득을 얻는 자와 손실을 보는 자를 낳으므로 제도의 채택 여부는 사회 전체의 이득이 아니라 정치권력을 가진 세력의 이득에 따라 결정된다느 것이다. 따라서 그는 지속적인 성장을 위해서는 사회 전체의 이익에 부합하는 경제제도가 채택될 수 있도록 정치제도가 먼저 변화해야 한다고 주장한다.
제도의 중요성을 강조한 나머지 외국의 역할과 관련해 극단적인 견해를 내놓는 경제학자들도 있다. 로머는 외부에서 변화를 수입해 나쁜 제도의 악순환을 끊는 하나의 방법으로 불모지를 외국인들에게 내주고 좋은 제도를 갖춘 새로운 도시로 개발하도록 하는 프로젝트를 제안한다. 콜리어는 경제 마비 상태에 이른 빈곤국들이 나쁜 경제제도와 정치제도의 악순환에 갇혀 있으므로 좋은 제도를 가진 외국이 군사 개입을 해서라도 그 악순환을 해소해야 한다고 주장한다.

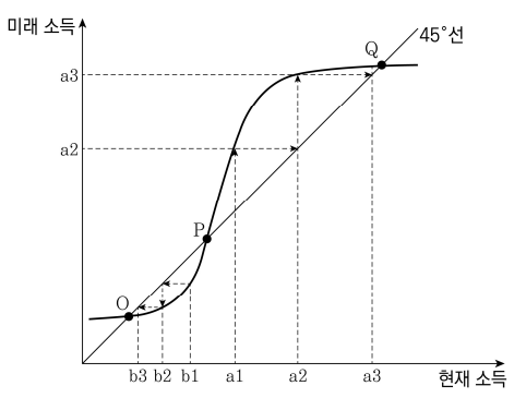
배너지와 뒤플로는 일반적인 해답의 모색 대신 "모든 문제에는 저마다 고유의 해답이 있다."는 관점에서 빈곤 문제에 접근해야 한다고 주장하고 구체적인 현실에 대한 올바른 이해에 기초한 정책은 강조한다. 두 사람은 나쁜 제도가 존재하는 상황에서도 제도와 정책을 개선할 여지는 많다고 본다. 이들은 현재 소득과 미래 소득 사이의 관계를 나타내는 곡선의 모양으로 빈곤의 덫에 대한 견해들을 설명한다. 덫이 없다는 견해는 이 곡선이 가파르게 올라가다가 완만해지는 '뒤집어진 L자 모양'이라고 생각함에 비해, 덫이 있다는 견해는 완만하다가 가파르게 오른 다음 다시 완만해지는 'S자 모양'이라고 생각한다는 것이다. 현실 세계가 뒤집어진 L자 모양의 곡선에 해당한다면 아무리 가난한 사람이라도 시간이 갈수록 점점 부유해진다. 이들을 지원하면 도달에 걸리는 시간을 조금 줄일 수 있을지 몰라도 결국 도달점은 지원하지 않는 경우와 같기 때문에 도움이 필요하다고 보기 어렵다. 그러나 S자 곡선의 경우, 소득 수준이 낮은 영역에 속하는 사람은 시간이 갈수록 소득 수준이 '낮은 균형'으로 수렴하므로 지원이 필요하다. 배너지와 뒤플로는 가난한 사람들이 빈곤의 덫에 갇혀 있는 경우도 있고 아닌 경우도 있으며, 덫에 갇히는 이유도 다양하다고 본다. 따라서 빈곤의 덫이 있는지 없는지 단정하지 말고, 특정 처방 이외에는 특성들이 동일한 복수의 표본집단을 구성함으로써 처방의 효과에 대한 엄격한 비교 분석을 수행하고, 지역과 처방을 달리 하여 분석을 반복함으로써 이들이 어떻게 살아가는지, 도움이 필요한지, 처방에 대한 이들의 수요는 어떠한지 등을 파악해야 빈곤 퇴치에 도움이 되는 지식을 얻을 수 있다고 본다. 빈곤을 퇴치하지 못하는 원인이 빈곤에 대한 경제학 지식의 빈곤이라고 생각하는 것이다.
'수능, LEET 독서 > 사회과학' 카테고리의 다른 글
| 특허권과 디지털세 [2021학년도 6월/경제학] (0) | 2021.11.10 |
|---|---|
| 행동 경제학 [2019학년도 LEET/경제학] (0) | 2021.11.10 |
| 교육과 기술의 경주이론 [2016학년도 LEET/경제학] (0) | 2021.11.10 |
| 차선의 문제 [2015학년도 LEET/경제학] (0) | 2021.11.10 |
| 사회적 할인율 [2008학년도 수능] (0) | 2021.03.19 |
댓글